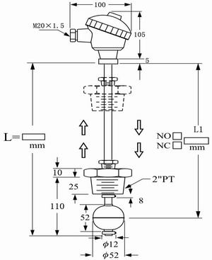
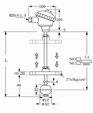
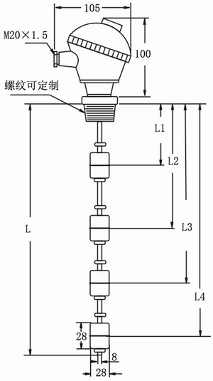
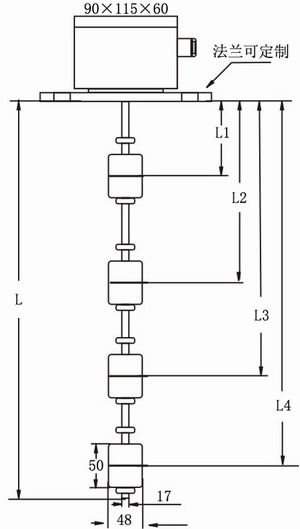
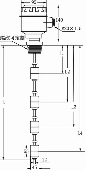
产品原理:
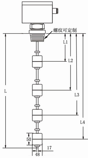
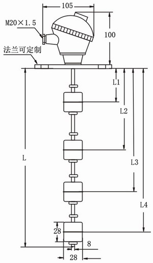
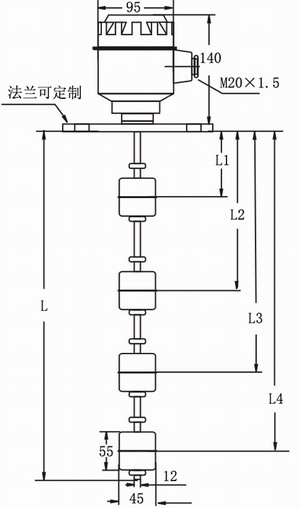
连杆浮球液位开关与小型浮球液位开关原理基本相同,通常将密封的非磁性金属或塑胶管内根据需要设置一点或多点磁簧开关,再将中空而内部有环形磁铁的的浮球固定在杆径内磁簧开关相关位置上,使浮球在一定范围内上下浮动,利用浮球内的磁铁去吸引磁簧开关的闭合,产生开关动作,以控制液位。常开和常闭是没有注入液体时的状态。 连杆浮球液位开关为定制品,依照被测液体的温度、压力、比重、耐酸碱等特性,选择适合规格的浮球。选购时还需确定接续规格(法兰安装或螺纹安装等),各动作点位置,动作形式(常开或常闭)和总长。
产品特点:
磁簧开关触点材料为铑(表层覆盖氧化铑),接点寿命可达200万次。磁簧开关的特殊处理可使其在200℃
高温下正常使用。可实现多点控制,每个控制点的位置可根据客户需要定制。所有开关的出线都集中在接线
盒里面,施工简单方便,降低配线成本。接线盒防护等级IP65以上,可需要配置本安防爆和隔爆型接线盒。
整体性能可靠。有SUS304、SUS316L、PP、PVDF、PTFE材质可选择。长度可任意定制(Lmax≤5m)
浮球规格:
浮球 | 型号 | 尺寸A×B×C(mm) | 材质 | 密度g/cm3 | 耐温℃ | 耐压Kg/cm2 |
![]() | S1 | 28×28×9.5 | SUS316L | 0.8 | 200 | 10 |
S2 | 38×26.5×9.5 | SUS316L | 0.7 | 200 | 12 | |
S3 | 45×55×15 | SUS316L | 0.65 | 200 | 15 | |
![]() | S4 | 52×52×15 | SUS316L | 0.55 | 200 | 30 |
S5 | 75×75×23 | SUS304 | 0.7 | 200 | 64 | |
![]() | P1 | 26×18×10 | PP | 0.8 | 80 | 4 |
P2 | 48×50×20 | PP | 0.8 | 80 | 4 | |
F1 | 55×70×23 | PVDF | 0.9 | 150 | 3 |
接线盒图 | ||
B型材质:铝合金防护等级:IP65 | E型材质:铝合金防护等级:IP65 | |
![]() | ![]() | |
F型材质:SUS304防爆等级:ExdⅡBT1~T6 | P型材质: 聚碳酸酯防护等级:IP66/67 | |
![]() | ![]() |
LM-E-DQ-S1 | LM-E-EM-S1 |
![]() | ![]() |
LM-B-FM-S3 | LM-B-FQ-S3 |
![]() | ![]() |
LM-P-SS-P2-4 | LM-P-SS-P2 |
![]() | ![]() |
LM-E-SS-S4-1 | LM-E-SS-S4 |
![]() | ![]() |